一、翻轉機構作用
1、口鉗翻轉機構的功用 口鉗翻轉機構用來將口鉗連同制品的雛形由初型模送往成型模,并使雛形由倒置翻轉180°為正立,以便進一步吹制成形。并在返回過程把口模由成型模側送回初型模側。
2、口鉗翻轉機構的構造 翻轉機構的主要構成包括:雙作用氣缸體、上/下氣缸端蓋、活塞、帶有齒條的活塞桿、位于氣缸兩端的行程調節裝置及緩沖裝置等。圖所示為采用液壓恒定緩沖的翻轉機構(近幾年開始逐漸投入使用的伺服翻轉機構待另行說明),是80年代為適應高速生產而經過改進的翻轉機構,代替了早先的空氣緩沖的翻轉機構,已用于各型行列式制瓶機上,能適應各種生產速度和各種重量瓶子的全部生產范圍。
其優點:①降低模具和口模的磨損和損壞;②減少瓶口和瓶頸部位的缺陷,增加成型的生產效率和效益;③使操作人員省力;④使操作人員省力;⑤提高機器速度。
此機構垂直裝在機組框架頂板中心的一個開孔中?;钊纳喜渴且粋€齒條,該齒條與口鉗機構上的齒輪相嚙合。上部氣缸蓋的堅固設計,能防止翻轉齒條彎曲。
“翻轉”是指口鉗從初型模側轉向成型模側的運動(活塞齒條向上行程);“返回”則是指口鉗從成型模側返回初型模側的運動(活塞齒條向下行程)。
3、口鉗翻轉的工作過程 當雛形制成以后,初型模打開,氣路接通,壓縮空氣經由氣缸下部的底塊進入缸內推動活塞向上運動,齒條升起帶動齒輪旋轉使雛形由初型模中倒立移至成型模中正立,此時切斷氣路。隨后口鉗張開,閥箱另一路氣路接通,壓縮空氣經氣缸蓋進入氣缸上部,推動活塞向下,使口鉗返回初型模下方,然后進入下一個循環。
4、恒定緩沖翻轉機構主要特點:此恒定緩沖翻轉機構裝有兩個液壓緩沖裝置,分別在上部氣缸蓋和下部氣缸蓋中,見圖中的圓圈里的齒條的內部裝有一個調節桿。
整個機構能夠進行快速更換,所有空氣和油管線連接均采用“O”形密封圈。

圖 14-1 恒定緩沖翻轉機構剖面圖
口鉗返回后在初型模側的芯子之上及在成型模上方的正確位置,也由翻轉機構活塞行程終點的位置所決定,并可容易地進行行程的終點調節,便于使口鉗保持直角。其調節方法如下:
口鉗在初型模側的正確位置是通過調節齒條內部的下行程調節桿來達到的,如圖所示,下行程調節桿延伸至齒條的頂部,可從上面對其進行調節,調至合適后,用防松螺母將其鎖緊。
口鉗在成型模上方的正確位置如圖所示,由翻轉機構氣缸上蓋緩沖裝置活塞桿內部的上行程調節桿來調定。合適后,用防松螺母將其鎖緊。
齒條活塞桿的工作和速度由閥箱上兩條裝有“球”止回閥的管線,通過針形閥對排氣速率的調節來進行控制。閥箱13#管線用于翻轉動作,15#管線用于返回。
在從初型模到成型模的傳遞期間,初坯處于重熱中。如果翻轉太慢,初坯將會由于重力作用而向下彎曲;如果翻轉太快,初坯將會由于離心力的作用而向外甩出。因此,必須用心調節控速針閥,以便使重力、離心力、粘度和初坯形狀之間取得協調。換句話說,初型模側的重熱會使初坯由于重力作用而下垂,而成型模側的重熱又會使初坯偏離正確的位置,這兩個效應必須由適當的翻轉速度而取得協調。
也就是說:為了使翻轉過程符合制品生產工藝的要求,不僅需要適宜的翻轉速度,而且在沖程末端還需要有緩沖。
二、 恒定緩沖原理

圖14-2 下部液壓緩沖器的工作原理示意圖
圖示,是裝于下部氣缸蓋中的液壓緩沖器,每一個緩沖器有三個充滿油的室和一個由彈簧支承的緩沖活塞,該緩沖活塞緩沖主活塞和齒條。齒條行程為19毫米(3/4″),等于上、下襯套之間的距離,此緩沖活塞同時也作為齒條下行程終點的定位塊。
緩沖活塞在計量套中運動。該計量套用螺釘固定在確定的位置,其上部有一開孔和若干個節流孔。當齒條升起時,緩沖活塞在彈簧的作用下,移至并保持在它的上部靜止位置,油室用油充滿。
當齒條活塞下降時,其下部的調節絲桿碰觸緩沖活塞,迫使它隨即向下移動,并擠壓油室中的油流出,油通過節流孔進入油室,再由油室通過孔進入另一油室。
因為緩沖活塞兩端桿部直徑相同,當緩沖活塞移動時,各室的總容積不變,所以油只能在下部氣缸蓋體內循環。
當活塞向下移動時,它將封閉若干個節流孔。這樣就減少了油流出室的節油孔面積,節流孔的孔徑和位置是這樣設計的,使得在緩沖活塞移動的整個行程中,油室和另一油室之間的壓力差幾乎保持恒定。此恒定的壓力差對緩沖活塞沿著其移動的相反方向施加一個恒定的力使緩沖活塞的整個運動產生恒定減速,從而起到恒定緩沖的作用。
在齒條向上行程時,油通過計量套節流孔被壓入兩個外室(圖上只示出一個室),并且通過在計量套底部的一個孔進行循環。此緩沖活塞受彈簧力的作用返回時,油也流向相反的方向。
上部液壓緩沖器與下部液壓緩沖器的工作原理相同。
此恒定緩沖的效果與齒條活塞的速率、行列式制瓶機機速和瓶子重量無關。因此,在瓶子的整個生產過程中恒定緩沖不需要進行調節。
三 、緩沖油供應系統
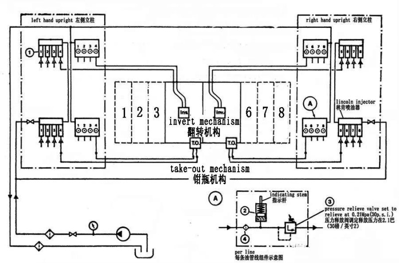
圖示出了緩沖油供應系統的原理。一組高容量的林肯噴油器按照選定的時間周期,供應計量的油量,時間周期由控制油泵的程序時鐘所決定。

圖14-3 恒定緩沖翻轉機構和鉗瓶機構的油管線系統示意圖
(八組機)
油由噴油器出口,經管線輸至翻轉機構和鉗瓶機構。在翻轉機構中,油首先流經上部緩沖器,然后通過下部緩沖器。過量的油由翻轉機構的出口經管線輸至機組的外邊。
要確保在此系統中維持適當的壓力,即使是小的滲漏也不應發生。在每一機構的緩沖油返回管線上,裝有壓力儲油器②、壓力釋放閥③、過濾器④,每4條管線上的這些組件分別裝在左立柱或右立柱上的一塊共用聯接塊上。儲油器的活塞帶有一個指示桿,供目測檢查運行情況之用。通過檢查指示桿在兩個潤滑循環之間的動作情況,便能發現過大的滲漏。依此在影響到機構的正常功能之前,可及時安排計劃進行修理。
每一個儲油器的壓力由預先調定的壓力釋放閥進行控制,調定的壓力為2巴(30磅/英寸2),回油從壓力釋放閥流回到油箱。
機組框架和機構之間的所有壓縮空氣和油管線的連接,均用O形環或V形密封件進行密封。這些機構等部件能方便地裝于機組框架上,或從框架上卸下,不需要連接或拆下框架內部的任何管線。
四、 恒定緩沖油管線
用于翻轉機構和鉗瓶機構恒定緩沖的油管線,采用1/4″鋼管,而不用1/8″鋼管,因后者易損壞。
恒定緩沖油供應系統選用了SL- 41型林肯噴油器,此型噴油器與SL- 44型噴油器相比可使漏油現象減至最少。自1980年1月1日以后的設備,均配用SL- 41型噴油器,可直接進行更換。
五、恒定緩沖翻轉機構故障分析

翻轉動作的平穩
翻轉機構動作的平穩對成型工藝操作是非常重要的。操作的保證是對液壓恒定緩沖機構的精準調整。這對操作者提出更高的要求。
現代行列式制瓶機為了使翻轉的動作更加平穩,正廣泛采用伺服翻轉機構(有關行列式制瓶機的伺服機構將有專門介紹)。





