由于玻璃具有良好的化學穩定性,不會與盛裝的物品發生反應,因此玻璃容器(瓶罐)成為廣泛使用的包裝容器。但是玻璃容器在灌裝、運輸和使用過程中,相互之間可能產生碰撞,有可能產生玻璃容器破裂,嚴重影響玻璃容器的使用安全。所以玻璃容器(瓶罐)必須具備較高的機械強度,可以抵抗碰撞和沖擊。玻璃容器這種抵抗碰撞和沖擊的能力,就是玻璃容器抗沖擊理化性能抗沖擊。抗沖擊就是檢測玻璃容器抵抗負荷沖擊作用的能力。
在GB 4544 - 1996啤酒瓶的標準中要求合格品的啤酒瓶抗沖擊≥0.6 J;在GB/T 24694 - 2009 玻璃容器 白酒瓶的標準中要求白酒瓶的抗沖擊≥0.2 J;在QB∕T2142-2017 玻璃容器 含氣飲料瓶的標準中,要求一次性含氣飲料瓶抗沖擊≥0.2 J,可回收含氣飲料瓶(≤530mL)抗沖擊≥0.4 J,(≥530mL)抗沖擊≥0.6 J。
一、碰撞和沖擊對玻璃容器的影響
當物體在外力作用下不能產生位移時,它的幾何形狀和尺寸將發生變化,這種形變稱為應變。材料發生形變時內部產生了大小相等但方向相反的反作用力抵抗外力,這種反作用力定義為應力。
那么在玻璃容器受到碰撞和沖擊時,沖擊物與玻璃容器的接觸點區域的邊緣產生接觸應力;接觸區域內表面產生彎曲應力;接觸區域周圍會產生擠壓應力。

接觸應力是在沖擊過程中產生的最大的一種應力,會在接觸區域的邊緣位置產生張應力。
彎曲應力,在沖擊過程中產生的第二大應力,在沖擊點處應力表現為最大值。引起接觸點的局部應力集中。
夾擠應力起源于外表面和沖擊點處的相反方向夾擠應力。
產生這些應力時,如果在玻璃容器遭受碰撞和沖擊的部位剛好有氣泡、結石、條紋或裂紋,那么玻璃容器的破裂就產生了。
二、沖擊使玻璃容器破裂的分析
如果玻璃容器在抗沖擊試驗中破裂,就表示玻璃容器產品質量出了問題。因此對玻璃容器的破裂進行分析是必須的程序。
一般每一個玻璃容器裂紋系統僅有一個裂紋產生源。進行裂紋分析的目的就是要確定裂紋發生源。
裂紋產生源,在玻璃容器本體上可以分為三個方面。
在玻璃容器外表面的微裂紋,是常見的裂紋產生源點。
在玻璃容器內表面的,通常需要在內表面首先出現斷層。
在玻璃容器次表面的,通常需要在玻璃內部存在夾雜物,例如:結石,氣泡等。
2.1、接觸應力產生破裂

在抗沖擊試驗中出現破裂這種破裂,說明破裂僅僅是接觸應力產生的。
接觸應力是局部性的,在玻璃容器外表面形成,是否產生破裂取決于玻璃硬度。
這種情況下影響玻璃硬度的玻璃容器產品缺陷主要是結石、氣泡。也包括玻璃容器外表面的裂紋,比如模縫裂紋、熱裂紋等等。
2.2、彎曲應力產生破裂

在抗沖擊試驗中,沖擊物與玻璃容器接觸區 域,沖擊過程中會產生彎曲應力,彎曲應力也是局部性的,在玻璃容器內表面形成。是否產生破 裂取決于玻璃硬度和內表面強度。這種破裂的裂 紋比接觸應力產生破裂的裂紋數量要多。
這也說明在玻璃容器內表面存在產生破裂的缺陷。比如玻璃容器內表面有微小的玻璃折疊,或者是玻璃容器內表面有異物崁入。這些都會在玻璃容器內表面產生應力集中。
2.3、夾擠應力產生破裂
夾擠應力在玻璃容器外表面較寬的范圍形成,夾擠應力起源于外表面和沖擊點處的相反方向。夾擠應力在玻璃容器外表面產生的破裂有可能與接觸應力產生破裂并不是一個破裂原點。


由于外表面易受外界因素影響而損傷,玻璃容器外表面會存在微裂紋,因此是否產生破裂取決于玻璃容器的外表面是否有微裂紋。
微裂紋的破裂導致能量釋放,與沖擊面表現出非對稱性裂紋。
三、要正確使用沖擊試驗儀器
測試開始前一定要檢測抗沖擊儀器的沖擊角度,擺錘靜止時應該正好接觸到容器,否則沖擊力不符合要求。

測試樣品一定不能有結石、氣泡、條紋以及裂紋等等產品缺陷。測試瓶身120度均等的三個點,一定要避開模縫、花紋、字符等位置。
為了正確反映產品質量,挑選的測試樣品一定要冷卻到室溫。低溫與高溫對玻璃強度的影響是不同的。在接近絕對零度(-273℃附近)到200℃范圍內,強度隨溫度的上升而下降。因此剛出退火爐的玻璃容器的機械強度肯定沒有玻璃容器降到室溫時的機械強度高。

還要注意挑選的測試樣品,玻璃容器產品的瓶壁一定是厚薄均勻的。如果瓶壁厚薄不均勻。會由于產品瓶壁截面尺寸改變而引起應力的局部增大,也是一種應力集中。對于組織均勻的脆性材料,應力集中將大大降低其機械強度。將不利于玻璃容器抗沖擊測試。
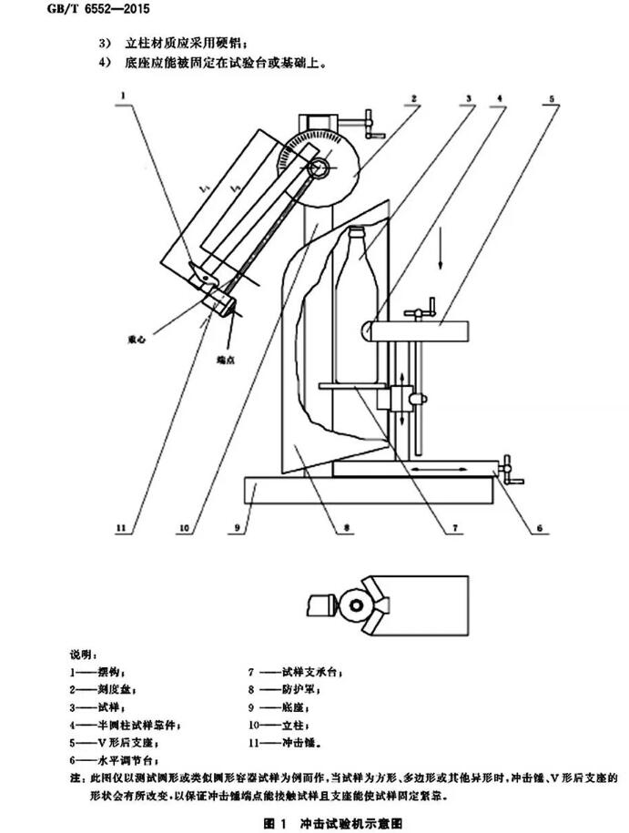
抗沖擊試驗儀操作步驟:
1 儀器放在水平穩固的工作臺上。首先調整使擺桿處于鉛錘位置。(此時刻度盤上標尺讀數為零)。
2 將被測試樣置于V型支承臺上,轉動高度調節手柄,高度應為打擊點距離瓶底50~80MM
3 轉動底座拖板調節手柄,使試樣剛好接觸沖擊錘。刻度值對零點。
4 轉動刻度調節手柄,使擺桿轉至試驗所需的刻度值(牛頓·米)。
5 撳下擺勾,使沖擊錘脫勾沖擊試樣,如果樣品不碎,當擺桿彈回時應用手接往,勿使沖擊錘重復沖擊試樣。
6 每個樣品120度打擊一點,打擊3下。
7 被測樣品不應經過其他如內壓力,熱沖擊等試驗!
四、提高玻璃容器抗沖擊的能力
通過我們對玻璃容器在受到碰撞和沖擊時的分析,知道在玻璃容器與沖擊物的接觸點區域的邊緣產生接觸應力;接觸區域內表面產生彎曲應力;接觸區域周圍會產生擠壓應力。
有了這樣三種應力,如果遇到我們的玻璃容器產品有影響其機械強度的產品缺陷,玻璃容器的理化性能指標抗沖擊就受到較大影響。
因此,提高玻璃容器產品的機械強度,消除影響玻璃容器機械強度的產品缺陷就是提高玻璃容器抗沖擊的能力的方法。
提高玻璃容器抗沖擊的能力和提高玻璃容器耐內壓力的能力都是要提高玻璃的機械強度,在《玻璃容器理化性能之耐內壓力》一文中已有講述。以下簡單介紹。
4.1、消除氣泡,結石,條紋等玻璃容器產品缺陷
較大的原料顆粒和玻璃渣中的雜質是玻璃容器結石和氣泡的主要來源。一定要嚴控原材料的進廠檢驗,嚴控玻璃渣清洗的質量。
穩定玻璃窯爐各項工藝制度。
4.2、減少或消除成型工序產生的玻璃容器缺陷
玻璃容器在成型生產過程中,會生成玻璃容器的外表面裂紋。也會生成玻璃容器內表面微小的玻璃折疊,或者是玻璃容器內表面的異物崁入。因此除了嚴格執行成型的標準操作外,還要注意由壓縮空氣或模具冷卻風帶入的異物。這種異物一旦崁入到玻璃容器內表面就會產生應力,甚至形成裂紋。
五、強化玻璃容器表面處理
熱端和冷端表面處理正確而有效的應用是確保玻璃容器在廠內輸送、貯存、運輸、客戶灌裝線及其它過程中具有良好性能的主要決定因素。
玻璃容器最初成形時為一種十分高強度的材料。但是,玻璃容器表面很容易受到一些外力的損壞,這種損壞顯著地降低了玻璃容器表面強度,例如擦傷和沖擊。這些損壞產生了應力集中,使玻璃容器容易在客戶處破損。
冷端噴涂的作用是降低玻璃容器表面的摩擦系數,而熱端噴涂則改進潤滑層在玻璃容器表面的附著力,因此,提高了潤滑的能力。
在約400~600℃的玻璃容器表面采用氧化錫涂層,使其表面對于外部破壞力具有彈性。氧化錫薄膜粘附在玻璃容器表面上,有一定程度滲入到玻璃結構中。但是,到多數情況下,氧化錫層在玻璃容器表面可作為“基本層”,使有機物涂層更牢固的粘附在玻璃容器表面上。它本身并不會增加玻璃容器表面的強度,但有助于減少玻璃容器原有強度的降低。
因此管理好玻璃容器表面處理工藝,保證熱端和冷端表面處理設備正常運行是很關鍵的。一般玻璃容器生產工廠沒有專職熱端和冷端表面處理設備運行的操作人員,必須進行妥善安排。
強化玻璃容器表面處理,維持玻璃容器最初成形時高強度,是非常有利于玻璃容器抗沖擊的能力和提高以及玻璃容器耐內壓力的能力的提高。
以上分析,希望能對玻璃容器行業生產有用。
附件:GB/T6552-2015玻璃容器抗機械沖擊試驗方法











